A marca norte-americana Rivian está impor-se aos poucos no mercado dos elétricos de altas performances, mas o seu empenho no desenvolvimento de tecnologias revolucionárias está a sobrepor-se mesmo ao sucesso comercial dos seus veículos, que ainda não descolaram nas vendas. Agora, acaba de patentear uma nova tecnologia de faróis aquecidos, concebida para melhorar a segurança e a visibilidade em condições climáticas adversas, como neve, gelo e geada.
Como Funciona o Mecanismo?
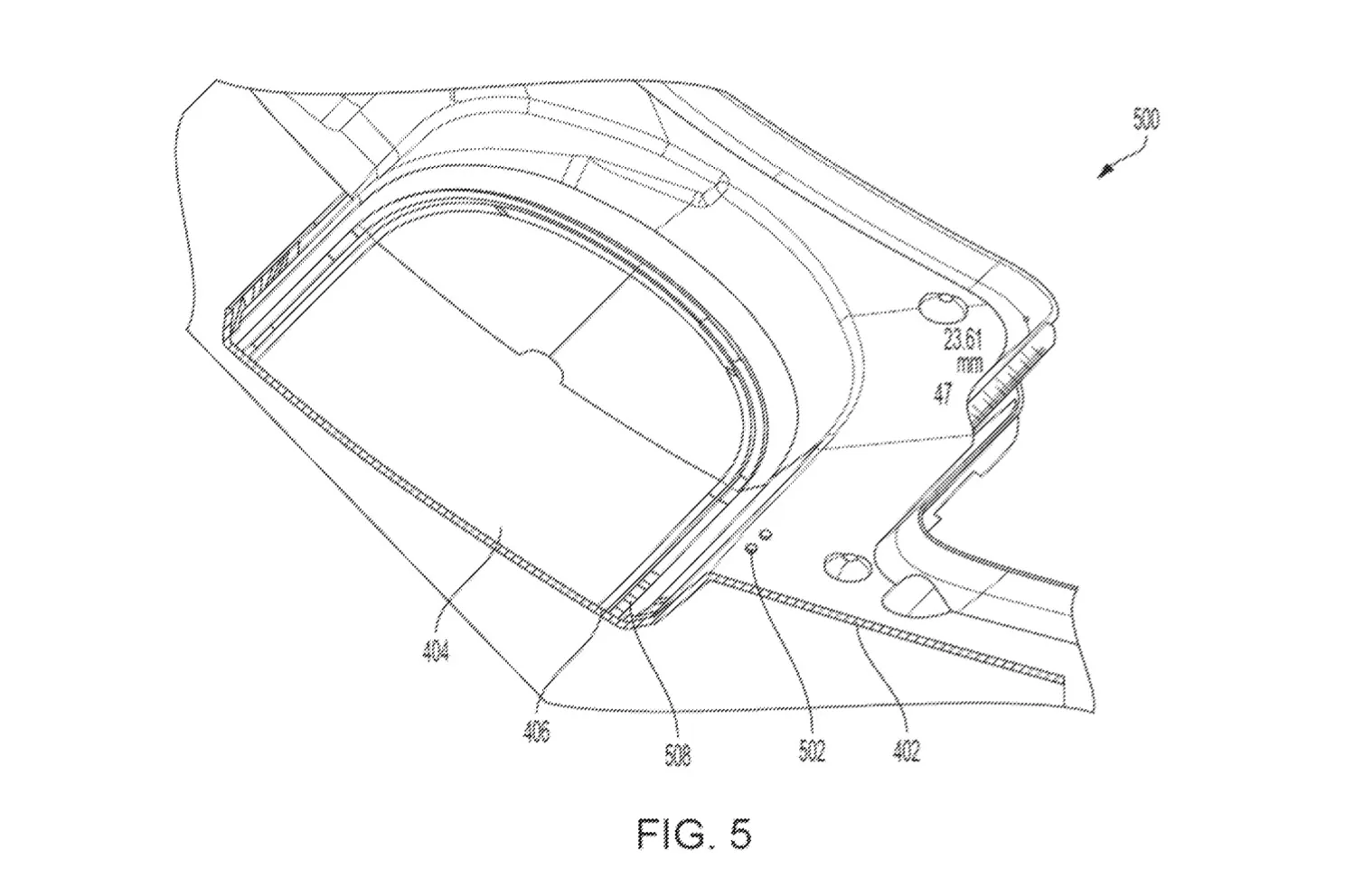
A tecnologia consiste numa camada de aquecimento integrada nos faróis do veículo. Esta camada é composta por elementos condutivos, como finas películas de material condutor ou malhas metálicas, que são estrategicamente colocadas na superfície interna das lentes dos faróis. Quando ativados, estes elementos geram calor de forma uniforme, aquecendo a lente e derretendo qualquer acumulação de neve, gelo ou geada.
O sistema pode ser controlado de duas formas:
Manual: O condutor pode ligar o aquecimento através de um botão no painel de controlo do veículo.
Automático: Sensores detetam a formação de gelo ou obstruções nos faróis e ativam o aquecimento sem intervenção humana.
O calor gerado é suficiente para derreter o gelo rapidamente, mas é cuidadosamente regulado para evitar danos aos componentes dos faróis ou consumo excessivo de energia, algo crucial num veículo elétrico.
Vantagens dos Faróis Aquecidos
Melhoria na Segurança: A principal vantagem é garantir que os faróis permaneçam limpos e funcionais em condições climáticas extremas, o que é essencial para a visibilidade do condutor e para que o veículo seja visto pelos outros utentes da estrada.
Conforto e Conveniência: Os condutores não precisam de parar o veículo para limpar manualmente os faróis em dias de neve ou geada, poupando tempo e esforço.
Durabilidade: A tecnologia também pode prolongar a vida útil dos faróis, evitando danos causados pelo gelo ou pela necessidade de limpeza mecânica frequente.
Sustentabilidade: Como a Rivian é uma marca focada em veículos elétricos, a integração desta tecnologia reforça o seu compromisso com soluções inovadoras e sustentáveis, que melhoram a eficiência energética e a experiência do utilizador.
Impacto no Mercado
A introdução desta tecnologia pode representar um diferencial competitivo para a Rivian, especialmente em mercados onde as condições climáticas adversas são comuns, como no norte dos Estados Unidos, Canadá e Europa. Além disso, esta inovação pode inspirar outras marcas a desenvolverem soluções semelhantes, elevando o padrão de segurança e conforto no setor automóvel.




















